首页 驱动 软件 说明书 品牌 知识

华为可变光圈是什么意思

更新时间:2023-05-25 作者:迷魂雪

随着智能手机的发展,越来越多的人开始对手机摄像头的功能要求越来越高。而在众多手机摄像头的厂商中,华为一直以来都在不断地提升自己的技术水平,不断地为用户带来更好的使用体验。其中,华为可变光圈就是一项非常值得一提的技术。

查询国家知识产权局网站发现,5 月 23 日,华为技术有限公司申请的一项“可变光圈设备”专利公布,带来了一种新的可变光圈方法。

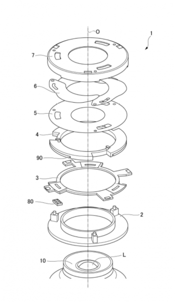
专利说明书称,在常规传统相机模块中,光圈值 f 数是固定的,不能更改。这是因为由于更改 f 数所需的机械设备会使相机模块的大小增加。因此,需要紧凑的机械设备来调整 f 数,该机械设备意图安装在微型相机模块上。

此前的专利公开了一种包括多个叶片的可变光圈设备。叶片通过设备中的致动器移动。包括叶片的转子由设置在光圈单元外部的致动器致动。但是,为了控制光圈的大小,该设备不直接检测转子的位置,而是检测设置在光圈单元外部的致动器的移动。这些问题使得难以缩小可变光圈设备的大小。此外,难以正确控制叶片的位置,即光圈的大小。

本发明的一个目的是提供一种适用于微型相机模块的可变光圈的微型设备。本发明的另一个目的是通过直接检测转子的位置来正确地控制光圈的大小。

华为可变光圈是什么意思

所述可变光圈设备包括

至少一个线圈,设置为围绕轴线至少部分地围绕具有透镜的镜头筒,所述线圈连接到外部电源;

至少一个磁传感器;

转子,安装在所述线圈上以围绕所述镜头筒,并且包括设置为面向所述线圈和所述磁传感器的至少一个磁体;

多个叶片,设置为围绕所述轴线,其中,所述叶片彼此配合以形成光圈,耦合到所述转子,并且相对于所述转子相对可移动,其中,由于向所述线圈供应电流,所述转子绕围绕所述轴线旋转并且移动所述叶片,从而改变所述孔光圈的大小。

因此,华为可变光圈技术可以说是一项非常有用的技术,它可以使手机摄像头更好地应对不同场景下的拍摄需求,提高照片的质量和表现力,并为用户带来更好的拍照体验。无疑,在未来的日子里,华为可变光圈将会越来越普及和成熟,为用户带来更多的惊喜和创意。